FullSizeRender

リーダー電子製の「オーディオテスター192A」ですが、結構多機能で使い勝手も良く、周波数特性やレベルの測定・調整と言ったオーディオ機器の一般的な計測であれば一台で概ね事足りてしまいます。

また、入出力端子にRCAピンジャックが付いているので私の様なド素人趣味修理人にも使いやすく、そのためか?古い測定器なのにも拘らず今だに探している方もそこそこ多い様です。

※ 流石にひずみ率やワウフラッターの測定など突っ込んだ計測は無理ですねw。

ですが192Aは既にそこそこ古い測定器です。経年で内部の調整がズレていたり故障修理などで内部に手を入れた場合などは回路の調整が必要になりますよね。

しかし「192A」の取扱説明書には調整要領が記載されておらず、普通にはユーザーが自分で内部調整を行う事が難しい!

で、あちこちネット上を探したところ、英語版の"TECHNICAL FILE"なる物を見つけました。

FullSizeRender

これは要するに「192A」のサービスマニュアルでして、回路図や調整要領は言うに及ばず、基板上のパーツ配置図やパーツリストまで記載されている物で、これがあれば192Aの修理や調整がかなり楽になります。

以下は、その"TECHNICAL FILE"の中から"調整要領のみを"ど素人目線で抜き出して勝手気まま翻訳して、それを基に内部を調整してみた結果です。

翻訳については、調整要領のみをど素人目線で手前味噌勝手気ままに翻訳したものですから、私が自分で使いやすい様に意訳されています。

したがって、解釈や訳自体が間違っている所もあるかもしれませんので、もしご利用される方が居ればご注意下さい。

あくまで自己責任でのご利用とさせていただきます。

※ この記事は、暫定的にブログ記事としてこのページ内に全文を記載していますが、時期をみて記事内容をPDF化してまとめる予定です。その際は、この記事の記載も変更いたしますので、ご了承下さい。

※ なお、私は英語は全然ダメですσ(^_^;)w

調整に使う信号の周波数は正規には1kHzと50kHzですが、400Hzと50kHzでも全く問題ありません。

またKIKUSUI 164Dとは異なり192Aの場合は1MHzの信号は調整には使用しません。

※ 調整前に電源OFFの状態で30秒以上放置してメーターのメカニカルゼロ位置の調整を行って下さい(できれば1分程度放置。内部の電解コンデンサの放電を待つ。)

・ 回路の調整は最低30分以上暖機運転を行った後に行うこと。
・ 電圧値は特に表記がない限り全てRMS
・ 調整前に、ダイヤルやスイッチ類を以下の設定にする事。

1. 周波数設定ダイヤル:1
2. 周波数レンジ:×1k
3. OUTPUT 600Ω負荷:ON
4. アッテネーター:0(全てのアッテネーターを抜いた状態)
5. 出力波形:正弦波
6. 可変出力レベル:最大(時計方向最大)
7. 測定レンジ:500V

● カバーの取り外し
・カバー上面2カ所、左右側面4カ所(計6カ所)にある止めネジを全て取り外して上部カバーを取り外す。

FullSizeRender

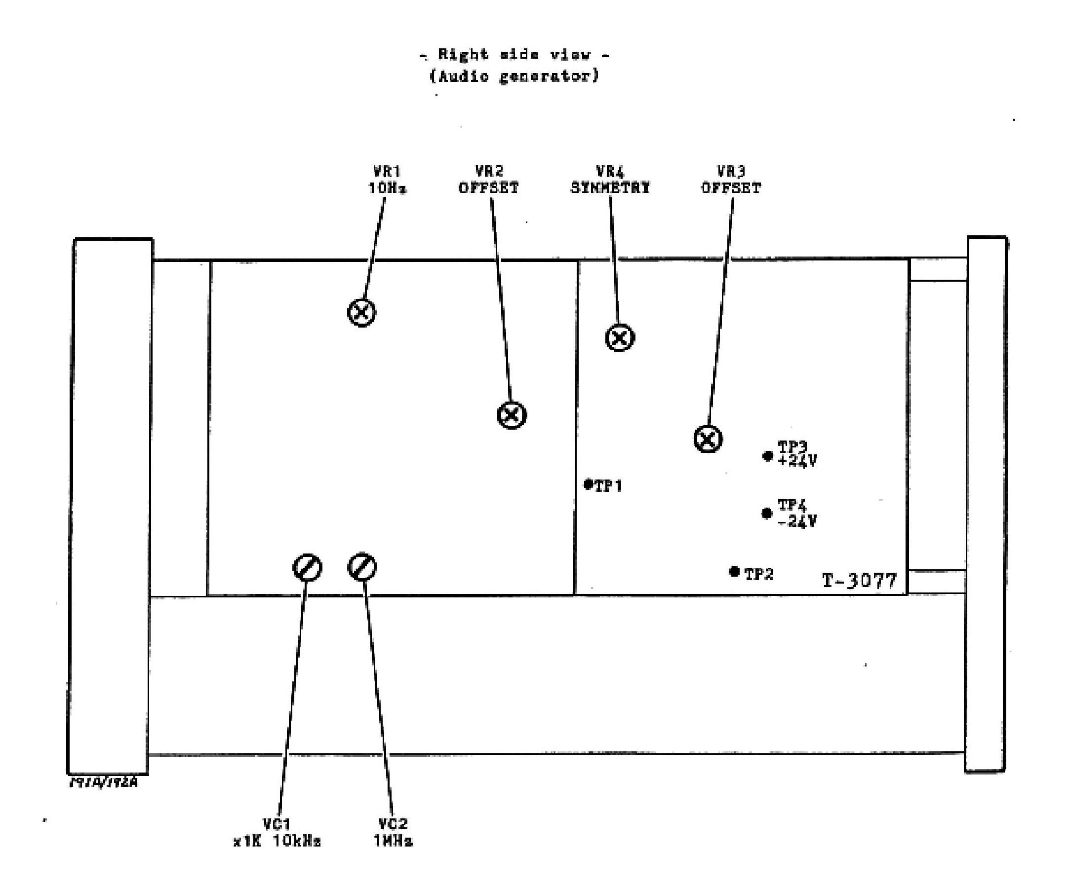
● 発振器部の調整
・電源電圧の確認
1. TP3又はTP4とGND(シャシーアース)間にDC電圧計を接続して、電圧が以下の値になっている事を確認する。
2. TP3 : DC+24V ±1V
3. TP4 : DC-24V ±1V
※ 調整ポイント無し。

◯ オフセットの調整
・ 発振器部のオフセット
1. 発振周波数調整ノブを回して、ダイヤル表示板を5の位置にする。
2. 発振周波数レンジを×1kにする。
3. 波形切替スイッチを正弦波に設定する。
4. 可変出力ボリュームのツマミを最大にする。
5. TP1にDC電圧計を接続して、電圧が0V偏差70mV以内になる様にVR2を調整する。
※ ±70mVでは無い事に注意

・ バッファーアンプ部のオフセット
1. 周波数レンジスイッチをOFF(全てのスイッチボタンが出ている状態)にする。
2. 波形切替スイッチを方形波に設定する。
3. 可変出力ボリュームのツマミを中央にする。
4. TP2にDC電圧計を接続して、電圧が0V偏差30mV以内になる様にVR3を調整する。
※ ±30mVでは無い事に注意

◯ 発振周波数直線性の調整
1. 発振周波数レンジを「×1k」にする。
2. 出力に周波数カウンターを接続し、発振周波数調整ノブを回して発振周波数を1000Hz±3%(970Hz〜1030Hz)に調整する。
3. 発振周波数調整ノブの止めネジを緩めて取り外す。
4. 周波数表示板の止めネジを弛める(周波数表示板は取り外さない事)
5. 発振周波数調整軸を回して発振周波数が1000Hz丁度になる様に調整する。
6. 周波数表示板の「1」の表記と本体パネル側の指針ポイントを合わせて止めネジを締める。この時発振周波数調整軸が回転しない様に(発振周波数が1000Hzからズレない様に)注意する。
7. ダイヤル表示板が「1」のままの状態で発振周波数レンジを「×10」にする。
8. 発振周波数が10Hzになる様にVR1を調整する。

※ 10Hzの調整はかなりブロードです。レシプロカル方式の周波数カウンターを使うか?GATE TIMEを10sにして時間を掛けてミリミリ調整するか?ある程度で妥協するか?σ(^_^;)ですね。

9. 発振周波数調整ノブを取り付けて止めネジを締める。
10. 発振周波数調整ノブを回してダイヤル表示板を「10」の位置にし、発振周波数レンジを「×1k」にする。
11. 発振周波数が10kHzになる様にVC1を調整する。
12. 発振周波数調整ノブを回さずダイヤル表示板が「10」の位置のままの状態で、発振周波数レンジを「×100k」にする。
13. 発振周波数が1MHzになる様にVC2を調整する。

※ VC1及びVC2、特にVC2の調整はかなりクリティカルで、ちょっと回しただけで周波数が100kHz単位で変化します。1MHzジャストにはまず合いません。アナログRC発振器ですし、周波数目盛も結構ズレる場合が多いですから、ある程度追い込んで妥協した方が良いかも知れません。

◯ ひずみ率の確認
発振器出力にひずみ率計を接続して、次の各周波数においてひずみ率が基準値以下である事を確認する。
1. 20Hz : 0.8%以下
2. 1kHz : 0.05%以下
3. 20kHz : 0.05%以下
※ 調整ポイント無し。

◯ 方形波の波形対称性の調整
1. 発振周波数調整ノブを回して、ダイヤル表示板の「1」にダイヤルを合わせる。
2. 周波数レンジを「×1k」にする。
3. 波形切替スイッチを方形波に設定する。
4. 可変出力ボリュームツマミを最大にする。
5. 出力にオシロスコープを接続して、波形が上下対象になる様にVR4を調整する。

※ VR4を回すと、同時にデューティー比も変化します。オシロスコープで最大値と最小値、デューティー比を見た限りでは、VR4を調整して最大値と最小値がプラスとマイナスで同じ電圧の時にデューティー比がちょうど50%になる様です。ですが個体差もありますから注意して下さい。

FullSizeRender

FullSizeRender

FullSizeRender

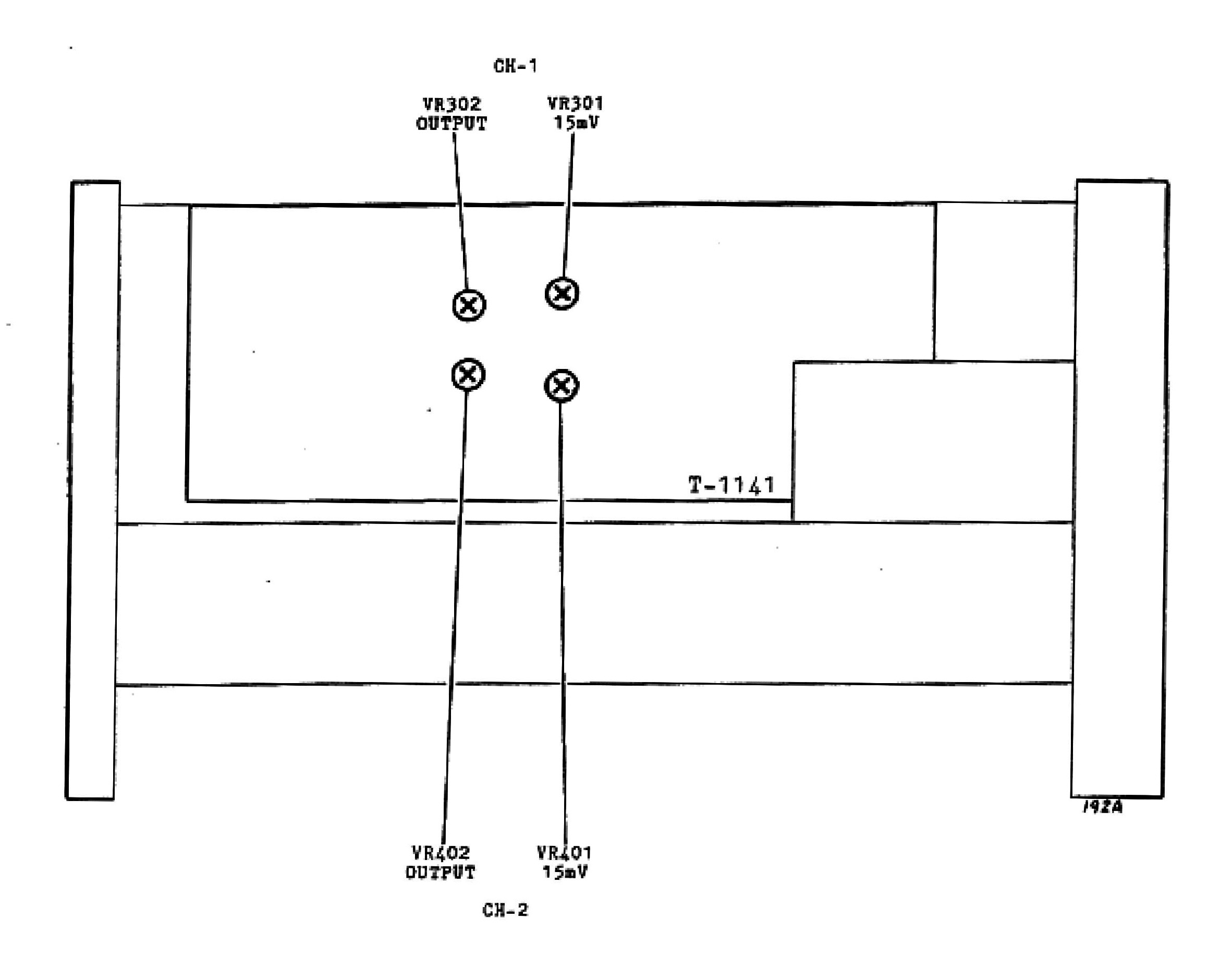
● ACミリボルトメーター部の調整

※ 以下の手順は全て1CHを対象に記載してある。(※)内の文字等は2CHの場合を示す。

◯ 電源電圧の確認
1. 以下のテストポイントにDC電圧計を接続して、次の各TPとGNDライン間の電圧が以下の様になっている事を確認する。
2. CH1, IC301, 2番ピン: DC+18V ±0.5V
3. CH2, IC401, 2番ピン: DC+18V ±0.5V
※ 調整ポイント無し。

※ IC301,IC401は+18V1A出力の三端子レギュレータ:7818です。測定時は三端子レギュレータの足とそれぞれの回路のGNDライン(シャシーアースではありません)に直接電圧計を接続するので、ショート事故に注意して下さい。なお独立したTPはありません。

◯ 周波数直線性の調整
・ 15mVフルスケールの調整
1. レンジ切り替えスイッチを15mVにする。
2. CH1(CH2)の入力端子に1kHz又は400Hz15mVの信号を入力する。
3. メーターの指針が15mVフルスケールを指すようにVR301(VR401)を調整する。
FullSizeRender

FullSizeRender

・ 1.5Vフルスケールの調整
1. 測定レンジ切り替えスイッチを1.5Vに設定する。
2. CH1(CH2)の入力端子に1kHz又は400Hz1.5Vの信号を入力する。
3. メーターの指針が1.5Vフルスケールを指すようにVR101(VR201)を調整する。

注意⚠️
* 1.5Vフルスケールの調整はプリント基板上の表示では「15V」とあり、同じリーダー電子のACミリボルトメーターLMV-181Aの同様な調整も電圧10Vで行う様に指示があるため、192Aの調整においても本来は15Vを入力して調整する手順が正しい調整方法だと思いますが、入力電圧を1.5Vとしてフルスケールの調整を行なっても実質問題はありません。

* 15VはRMS値でP-P値では42.3Vになります。400Hzや1kHzと言った周波数でその様な比較的高い電圧を用意するのは一般的には困難です。

* また、次項目の「周波数直線性の調整」は1.5Vレンジで調整を行う様に指示があり、私見ですが可能であれば同一レンジで「1.5Vフルスケールの調整」と次項目の「周波数直線性の調整」の両項目の調整を行った方が、レンジの違いによるアッテネーターの誤差等の調整誤差発生要因を排除出来るので、400Hz1.5Vで調整を行った方が1kHz15Vで調整を行うより逆に好ましいと思われます。

* ちなみに、メーカーの設計思想の違いかも知れませんがKIKUSUI製ACミリボルトメーター164Dの場合は、周波数こそ違いますが同様の回路調整を同一レンジ同一電圧で行う様に、取扱説明書の「調整および校正」の項目に指示があります。

・ 周波数直線性の調整
1. 測定レンジ切り替えスイッチが1.5Vに設定されている事を確認する。
2. CH1(CH2)の入力端子に1kHz又は400Hz1.5Vの信号を入力し、メーターの指針が1.5Vフルスケールを指している事を確認する。
3. 入力している信号の周波数を50kHzに変更する。
※ 周波数のみ変更し、電圧は変更しない。

4. メーターの指針が1.5Vフルスケールを指すようにVC101(VC201)を調整する。
5. 「1.5Vフルスケールの調整」と「周波数直線性の調整」を交互に繰り返して、指示値に差が無くなる様に調整を追い込む。

※ VC101とVC201の調整はかなりクリティカルで微妙な指使いが要求されますが、この調整はメーター指示値の振れ具合の調整で、この調整の追い込み具合が測定精度の良否に直結しますので、納得出来るまで調整を行った方が良いとは思います。ですが192A自体かなり古い物ですから回し過ぎてVCを壊さない様に注意して下さい。

FullSizeRender

FullSizeRender

FullSizeRender

・ 背面OUTPUT端子の電圧調整
1. 測定レンジ切り替えスイッチが1.5Vに設定されている事を確認する。
2. CH1(CH2)の入力端子に1kHz(又は400Hz)1.5Vの信号を入力し、メーターの指針が1.5Vフルスケールを指している事を確認する。1.5Vからずれている場合は、発振器の出力を微調整してメーターの指針を1.5Vフルスケールに合わせる。
3. 背面パネルのOUTPUT-1(OUTPUT-2)にAC電圧計を接続して、OUTPUT-1(OUTPUT-2)の電圧が"1V"になるようにVR302(VR402)を調整する。
※ 1.5Vでは無い事に注意

FullSizeRender

FullSizeRender

FullSizeRender

以上です。

これらの調整で「KIKUSUI 164D」やナショナル「VP-7701A」のレベルメーター部と400Hzでの指示値の差はほとんど無くなっています。

周波数特性は、10Hz〜100kHz位までの間はほとんどフラットで、特性の変な暴れも無く、約100kHz位から緩やかに指示値が低下して行き最大測定周波数の1MHzでは約0.25dBの低下でした。-3dBのカットオフは約4.4MHzでした。

ひずみ率はと言うと、VP-7701Aでの計測では以下のとおりでした。

20Hz:0.5%
1kHz:0.03%
20kHz:0.02%

カタログスペックをクリアしていて、なかなか良い感じです。

発振器部はと言うと、発振周波数精度は設定ダイヤルの回転が結構クイックですしアナログRC発振器ですから当然誤差はありますが、400Hzの目盛設定の時で大体385Hz位の発振周波数でしたね。

400Hzを発振させた時の目盛の位置は大体420Hzでした。アナログ発振器ですから、まぁこんなモノでしょう。

以上、ど素人調整にしては、なかなか良い性能が出ている様に思います。
(自画自賛σ(^_^;))

ど素人が意訳した完全に私的なマニュアルに基づく調整ですから、当然メーカーの調整要領とは異なる部分もあると思いますし、翻訳も誤訳や誤解釈などもあると思いますので、もし利用される方がいましたら、完全に自己責任でご利用下さい。

当方は、何があっても責任を取ることは出来ませんし、全ての事象について完全に免責とさせて頂きます。これら事項を承諾頂けない方のご利用は禁止とさせて頂きます。

調整要領はハッキリ言って面倒です。スキルの無い方や調整に必要なアイテムを用意出来ない方は、調整VRなどを不用意に回す事はやめた方が良いと思います。

なお、いかなる理由があっても当方は一切サポートは致しません。メールやコメントなどを頂きましても、基本的に一切のディスカッションは致しませんのでご承知下さい。承知頂けない方のご利用は禁止とさせて頂きます。

FullSizeRender

FullSizeRender

FullSizeRender