Start Here!

Saturday, October 20, 2012

Nintendo Kôsenjû Duck Hunt - How it works

In a previous post, we saw what Nintendo's Kôsenjû Duck Hunt (光線銃 ダックハント) is capable of: it projects life-like flying ducks, that crash down when hit by the light-beam shotgun.

Today we will take a peek inside this wonderful machine, to try and understand how it actually works.

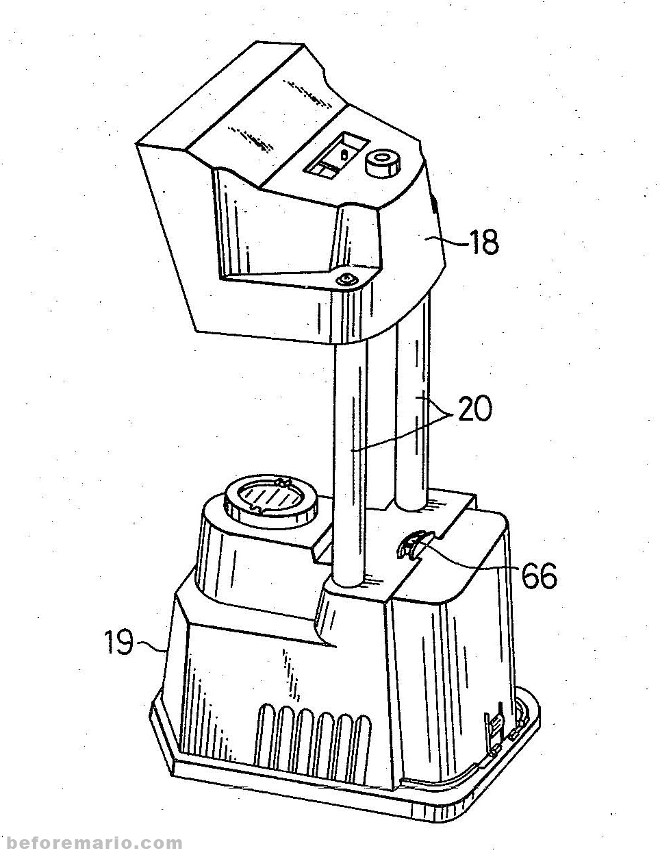
Nintendo Kôsenjû Duck Hunt (1976)

Duck Hunt is an electro-mechanical toy from 1976. It combines various technologies Nintendo developed for the Laser Clay Shooting System as well as for Kôsenjû SP and Kôsenjû Custom light-beam guns and targets.


Nintendo's engineers managed to pack all this technology into a small, relatively affordable device, fit for home use.

An US patent was awarded for it in 1980, listing Takao Ohta as the inventor. The patent for the Laser Clay technology (US patent 3,904,204 - credited to Gunpei Yokoi) is included as part of the references.

US patent for Kôsenjû Duck Hunt (# 4,229,009)

The shotgun is a simple device, with a bright light source that flashes when the trigger is pulled.

The projector is where the really cool stuff happens.


This projector has four main functions:
  • create an image of a duck flapping its wings,
  • project this image on a wall, as if the duck is flying,
  • detect if the duck is hit by the light emitted from the shotgun, and
  • show the wounded duck plummeting from the sky.

Schematic of Duck Hunt's basic electronics

All this is driven by a single electro-motor, an assortment of gears and levers and a handful of simple electronic parts. There are no integrated circuits or micro processors involved here.

Cross section of the projector

The image of the duck is created in the bottom part of the projector.


A simple light bulb shines up through a set of masks that create the duck image.

Bottom view of the projector with the bottom plate removed

This image is focussed through a lens and beamed up to a mirror.


The mirror is constantly moving up and down and side-ways, producing the flight patterns of the projected duck.


An axle connects the mirror to the electro-motor in the bottom part of the projector.


A clever system with excentric cogs creates the complex mirror movement that results in unpredictable and seemingly natural, random flight behaviour of the duck.


The electro-motor not only makes the mirror move, but also produces the duck's animation.


An intricate set of gear wheels operates two masks that together create the animation.

The gear box inside Duck Hunt

One of these masks contains two images of a duck: one in full flight and one showing a bird that has just been hit.


The other mask can cover part of the duck image, blocking the upper or lower set of wings (shown as parts b and c in below picture).


By moving the two masks in different positions relative to each other, the various steps in the duck's animation are created.


The flapping wings are produced by moving the upper mask quickly back and forth, which - in rapid succession - shows a duck with the wings up, the wings to the side and the wings down (the three stages shown below).


When the flapping bird is hit, the masks instantly move to one side, where it has an image of a wounded bird. At the same time, the mirror drops down, making the projected bird plummet to the ground.

To add to this dramatic scene, at the same time a mechanical device starts spinning inside the projector, producing a quacking sound.


Detecting the hit by the shotgun is another clever idea, brilliant in its simplicity. If the marksman aims correctly at the bird, the light from his shotgun will bounce off the wall and travel along the same path as the duck projection, but in the opposite direction, to the inside of the projector.


A light sensitive cell inside the projector will detect the light from the shotgun, which makes it switch to the "wounded bird" mode.

This light sensitive cell sits right in the center of the projected light beam. This is necessary - as it should detect a hit in the center of the bird. Although this could potentially obstruct the projection, it is however small enough as not block any significant part of the light creating the projected bird.

The light sensitive cell inside the projector, which detects the hit by the shotgun

All these elements are tuned and timed very well, and together create a realistic duck hunting simulation.


You can only have but the utmost respect for this great feat of engineering. Even after after you begin to grasp its inner workings, seeing it in action is still quite magical.

KôsenjûDuck Hunt is the last of Nintendo's electro-mechanical games. From 1977 onwards Nintendo would direct most of their attention to video games for the arcade and use at home.

For more information on Kôsenjû Duck Hunt, including a video of this toy in action, check out this previous post.

9 comments:

  1. I would love to see a youtube video of this device in action. It's brilliant.

    ReplyDelete
    Replies
    1. Hi Joseph,

      To see it in action, check out this previous post and video.

      Regards,

      Erik

      Delete
  2. This is so brilliant and fascinating! Thanks for this explanation!!! But I still don't quite get why the light sensor doesnt block the outgoing projected light.

    ReplyDelete
    Replies
    1. It is a brilliant toy, isn't it?! The sensor does not really block the light because the beam is already focussed wide. It is al a matter of clever use of lenses. You can see it in the picture called -Cross section of the projector-. It's the difference between the width of D1 and D2 that makes it work. The part of light that is blocked by the sensor is blurred out when the image reaches the wall.

      Delete
  3. Do you have any pictures from the inside of the gun?

    ReplyDelete
  4. I was thinking for a while "but then why doesn't the actual light from the duck interfere with the light sensor?", and then I realized it is on an angle and the light will never reflect back. Brilliant.

    But I fear if you turn on the lights in the room it will kill the duck instantly. An atomic bomb, perhaps?

    ReplyDelete
  5. WHAT SORCERY IS THIS?

    It's like pure magic, I tell you.

    ReplyDelete