3DSの後継か、それともスイッチの新機能か。
任天堂が提出した新たな特許の画像が公開されました。どうやらマルチディスプレイのように複数のディスプレイを使うもののようです。何枚かのディスプレイを繋いで1画面として認識できるとか、そんな感じっぽいですよ。


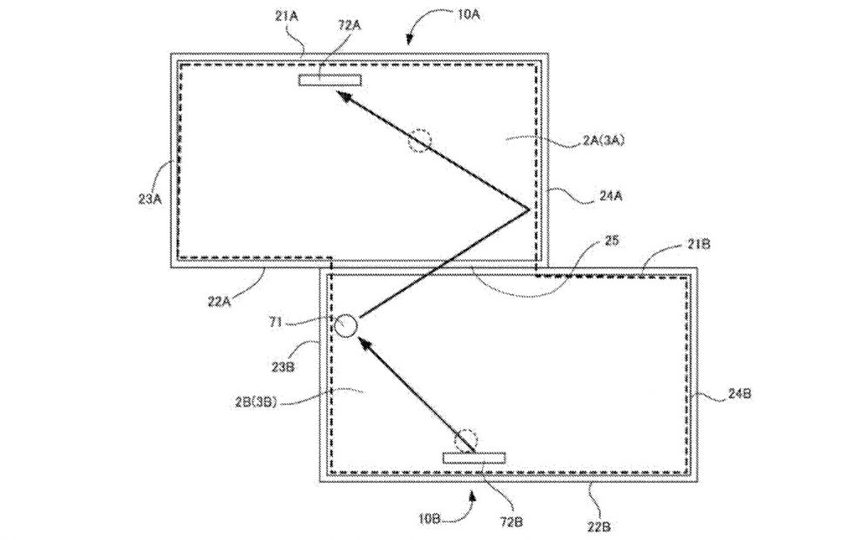
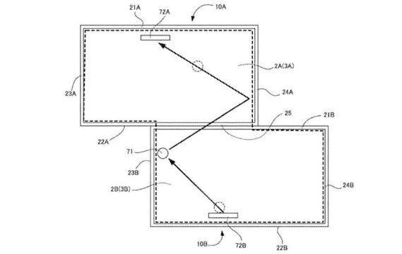
SlashGearいわく、これは相互通信できる複数の情報処理装置とのこと。PCのマルチディスプレイのように、ディスプレイをまたいでひとつの表示画像を処理する仕組みのようです。下画像の仕組みをゲームに応用するなら、移動するキャラクターの道を画面を繋いで作ってあげるとかかな?

画面に角度をつけて重力をエミュレート、画面同士の距離の補間、立体的な画像表示など、三次元的な表現も見られますね。画面を傾けるバーチャルボウリングとかかなり任天堂っぽい発想だけど、『メイド イン ワリオ』みたいなゲームじゃないと最大限に活かせないような気がしなくなくもない。

回転軸の表現もありますし、ジャイロセンサーはありきでしょう。ニンテンドースイッチのジャイロはJoy-Con側に組み込まれていたら、やはりこれは3DSの次を担う携帯機のアイディアなんでしょうか。スイッチもJoy-Conをつければジャイロが効くけど、そうなると繋ぎ方が不自然……。え、次世代機とスイッチでディスプレイ互換? いやいやそれは神すぎて。
オリジナル3DSの発売が2011年で、New3DS LLが2014年。2017年はNewニンテンドー2DS LLなる「待ってました機」が登場しています。スイッチの伸びしろを考えると新型携帯機はもうちょっと先でもいい気がしますけど、はたしてはたして。
Image: United States Patent and Trademark Office
Source: SlashGear, United States Patent and Trademark Office
(ヤマダユウス型)













