[新機能] Amazon RekognitionでCelebrity Recognition(有名人認識機能)が出来るようになりました!

はじめに
今日の新機能はこちら。
Amazon RekognitionでCelebrity Recognition(有名人認識機能)が出来るようになりました。映画やテレビ、政治、ビジネス、スポーツなどのジャンルにおける有名人を認識することができるようになったとのこと。
やってみた
Amazon Rekognitionの管理コンソールにアクセスすると、Celebrity recognitionというリンクが増えています。
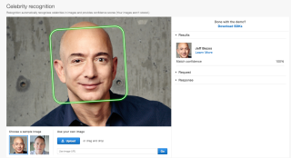
クリックするとデモ画面が表示されます。いきなりAmazonのCEOであるJeff Bezosが大写しにされるのでちょっとビビりますね。
もう1つのデモ画像はAmazon Web ServicesのCEO、Andy Jassyです。
では早速試してみましょう。Uploadボタンから任意の画像をアップロードしてCelebrity Recognitionを実行することができます。まずは僕の妻が愛してやまないニコラス・ケイジ。もちろん認識します。
では政治家で。ドナルト・トランプも当然認識します。なお、角度や表情によっては認識しない画像もありました。
スポーツ選手も問題なく認識します。皆さんご存知でしょうか、ルート・フリットを。ACミランとオランダ代表を支えた名プレイヤーですね。
さすがに映画のキャラクターは認識しませんでした。
日本人もグローバルで活躍していればちゃんと認識します。
では日本ローカルで活躍している有名人は...あ、誤認識しました。ん?あれ?
マジか。
さいごに
渡辺直美さんの世界を股にかける活躍がちゃんと評価されていることに感動しました。
それはそれとして、もちろんAPIやCLIからも使えますので、サービスやアプリケーション、スクリプトに組み込むことも可能です!Rekognitionの今後のアップデートに期待大です!









